


柔性防水套管一般適用于管道穿過墻壁之處受有振動或有嚴密防水要求的構筑物;剛性防水套管一般適用于管道穿過墻壁之處要求一般防水的構筑物;柔性及剛性防水套管穿墻處之墻壁,如遇非混凝土時應改用混凝土墻壁,而且必須將套管一次凝固于墻內;防水套管施用于建筑、化工、鋼鐵、自來水、污水處理等單位。
剛性防水套管和柔性防水套管的區別
剛性防水套管是鋼管外加翼環(鋼板做的環形套在鋼管上),裝于墻內(多為混凝土墻),用于一般管道穿墻,利于墻體的防水;
柔性防水套管除了外部翼環,內部還有檔圈之類的,法蘭內絲,有成套賣的,也可自己加工,用于有減震需要的管路,如和水泵連接的管道穿墻時。
主要是使用的地方不一樣,柔性防水套管主要用在人防墻,水池等要求很高的地方,剛性防水套管一般用在地下室等管道需穿管道地位置。自地下入戶的管道 穿建筑物外墻時需加裝剛性防水套管。穿墻(池、板等)的套管。分為剛性和柔性兩種。安裝完畢后允許有變形量的---柔性;不允許有變形量的--剛性。
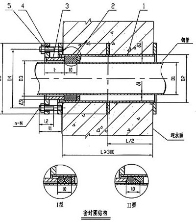
柔性防水套管說明:
1、本圖尺寸均以毫米來計。
2、柔性防水套管一般穿過墻壁之處受有振動或有嚴密防水要求的構筑物。
3、套管部分加工完成后,在其外壁均刷底漆一遍(底漆包括樟丹或冷底子油)。外層防腐由設計決定。
4、套管穿墻之墻壁,如遇非混凝土墻壁時應改用混凝土墻壁,其澆注混凝土范圍應比翼環直徑( D6 )大 200mm ,而且必須將套管澆固與墻內。
5、穿管處之混凝土墻厚應不小于 300mm 否則應使墻壁一邊加厚或兩邊加厚。加厚部分的直徑最小應比翼環直徑( D6 ) 200mm
6、套管的材料重量是按墻厚 L 值為 300mm 應另行計算。
7、套管部件焊接材料,用 A3 材料制作, T42 焊接。

說明:
1、當迎水面為腐蝕性介質時,可采用封堵材料將縫隙封堵。
2、套管穿墻處如遇非混凝土墻壁時,應局部改用混凝土墻壁,其澆注范圍應比翼環直徑(D5)大200,而且必須將套管一次澆固于墻內。
3、穿管處混凝土墻厚應不小于300,否則應使墻壁一邊加厚或兩邊加厚,加厚部分的直徑至少為D5+200。
4、套管的重量以L=300計算,如墻厚大于300時,應另行計算。

說明:
1、柔性填料材料:瀝青麻絲、聚苯乙烯板、聚氯乙烯泡沫塑料板。
2、密封膏:聚硫密封膏、聚胺脂密封膏。
3、套管穿墻處如遇非混凝土墻壁時,應局部改用混凝土墻壁,其澆注范圍應比翼環直徑(D5)大200,而且必須將套管一次澆固于墻內。
4、穿管處混凝土墻厚應不小于300,否則應使墻壁一邊加厚或兩邊加厚,加厚部分的直徑至少為D5+200。
5、套管的重量以L=300計算,如墻厚大于300時,應另行計算。
柔性防水套管質量要求
|
名稱 |
標準 |
|
橡膠密封圈的硬度、 |
HG/T3091:2000 |
|
金屬表面生銹處理 |
GB8923-88/標準中的ST3 |
柔性防水套管主要尺寸、重量表
|
DN
|
D1
|
D2
|
D3
|
D4
|
D5
|
I
|
10
|
I1
|
I2
|
D1
|
D2
|
D3
|
n-M
|
A型重量(k曲
|
B型重量(kg)
|
|||
|
I型
|
Ⅱ型
|
I型
|
Ⅱ型
|
I型
|
Ⅱ型
|
|||||||||||||
|
50
|
60
|
95
|
65
|
145
|
200
|
65
|
28
|
-
|
72
|
30
|
3.5
|
4
|
8
|
4-M12
|
14.40
|
-
|
14.60
|
-
|
|
65
|
76
|
114
|
80
|
165
|
220
|
65
|
28
|
25
|
72
|
30
|
3.75
|
4
|
8
|
4-M12
|
16.89
|
17.07
|
17.18
|
17.35
|
|
80
|
89
|
127
|
95
|
180
|
235
|
65
|
28
|
25
|
76
|
38
|
4
|
4
|
10
|
4-M16
|
21.12
|
21.31
|
21.42
|
21.61
|
|
100
|
108
|
146
|
114
|
200
|
255
|
65
|
28
|
25
|
76
|
38
|
4
|
4.5
|
10
|
4-M16
|
24.37
|
24.58
|
24.71
|
24.92
|
|
125
|
133
|
180
|
140
|
235
|
290
|
65
|
28
|
25
|
76
|
38
|
4
|
6
|
10
|
6-M16
|
31.92
|
32.31
|
32.43
|
32.82
|
|
150
|
159
|
203
|
165
|
260
|
315
|
65
|
28
|
25
|
76
|
38
|
4.5
|
6
|
10
|
6-M16
|
35.77
|
36.17
|
36.31
|
36.72
|
|
200
|
219
|
265
|
226
|
320
|
375
|
65
|
28
|
25
|
76
|
38
|
6
|
6
|
10
|
6-M16
|
44.69
|
45.29
|
45.29
|
45.87
|
|
250
|
273
|
325
|
280
|
380
|
435
|
65
|
28
|
25
|
76
|
38
|
8
|
8
|
10
|
8-M16
|
59.41
|
60.22
|
60.43
|
61.33
|
|
300
|
325
|
377
|
333
|
435
|
495
|
72
|
28
|
30
|
90
|
46
|
8
|
10
|
10
|
8-M20
|
89.37
|
90.02
|
90.35
|
91.14
|
|
350
|
377
|
426
|
385
|
485
|
545
|
72
|
32
|
30
|
90
|
46
|
10
|
10
|
10
|
8-M20
|
99.74
|
100.3
|
100.7
|
101.5
|
|
400
|
426
|
480
|
435
|
540
|
600
|
72
|
32
|
30
|
90
|
46
|
1O
|
10
|
10
|
12-M20
|
114.0
|
114.8
|
115.3
|
116.4
|
|
450
|
480
|
530
|
488
|
590
|
650
|
72
|
32
|
30
|
90
|
46
|
10
|
1O
|
10
|
12-M20
|
124.1
|
124.7
|
-
|
-
|
|
500
|
530
|
585
|
538
|
645
|
705
|
72
|
32
|
30
|
90
|
46
|
10
|
10
|
10
|
16-M20
|
139.3
|
140.5
|
-
|
-
|
|
600
|
630
|
690
|
640
|
755
|
820
|
75
|
32
|
30
|
104
|
54
|
10
|
10
|
12
|
16-M24
|
197.2
|
198.2
|
-
|
-
|
|
700
|
720
|
780
|
730
|
845
|
910
|
75
|
40
|
30
|
104
|
54
|
10
|
1O
|
12
|
20-M24
|
222.6
|
223.7
|
-
|
-
|
|
800
|
820
|
880
|
830
|
950
|
1020
|
80
|
40
|
40
|
117
|
60
|
10
|
10
|
12
|
20-M27
|
280.0
|
282.3
|
-
|
-
|
|
900
|
920
|
980
|
930
|
1050
|
1120
|
80
|
40
|
40
|
117
|
60
|
10
|
10
|
12
|
20-M27
|
309.6
|
312.2
|
-
|
-
|
|
1000
|
1020
|
1080
|
1030
|
1150
|
1220
|
80
|
40
|
40
|
117
|
60
|
10
|
10
|
12
|
24-M27
|
341.1
|
344.0
|
-
|
-
|
注:訂貨時注明管子外徑,大于DN1400、墻厚大于或小于300mm的產品可訂制加工。

| 電話: | 13774254081 |
| 廣東分部: | |
| 電話: | 0757-83134922 |
| 0757-83631511 | |
| 手機: | 13068618169(李經理) |
| 18924557106(李經理) |
